Bogdan Stefanescu
pe site din 5 Sep
activ: 10 Feb 2026 21:14




250.000 eur
Companie
Descriere anunt
Acest teren reprezintă o oportunitate concretă, oferind un spațiu pregătit pentru a fi dezvoltat conform nevoilor și dorințelor viitorilor proprietari.
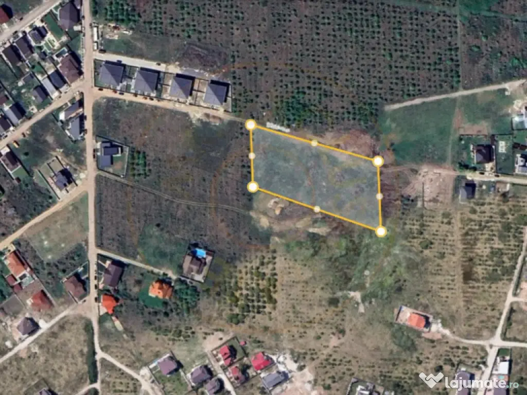
SUPRAFATA SI DESCHIDEREA TERENULUI!
- Cu o suprafta de 3600 mp si o deschidere de 60 ml, terenul ofera spatiu suficient pentru dezvoltarea unui proiect rezidential.
ACCESIBILITATE SI INFRASTRUCTURA!
- Accesul rapid datorat podului de pe soseaua de centura a Bucurestiului, este un avantaj major, mai ales in contextul in care traficul poate fi problematic in unele zone. Aceasta infrastructura imbunatateste atractivitatea zonei pentru potentiali cumparatori sau locatari.
CERTIFICAT DE URBANISM!
- Obtinerea certificatului de urbanism in ianuarie 2024, este un pas important pentru viitoarea dezvoltare a terenului. Acesta indica posibilitatea de a construi 12 locuinte independente, cu specificatia de inaltime de P+1E+M, cu coeficient de ocupare a terenului si coeficient de utilizare a terenului mentionate.
CRESTEREA POPULATIEI LOCALE!
- Cresterea populatiei din Mogosoaia cu aproximativ 30% in ultimii 10 ani, sugereaza o cerere crescuta pentru locuinte in zona. Acest lucru poate fi un factor favorabil pentru piata imobiliara locala.
INFRASTRUCTURA EDUCATIONALA!
- Prezenta unei gradinite in apropiere, poate fi un punct de atractie pentru familile care cauta o locuinta in zona, mai ales pentru cuplurile tinere sau familile cu copii mici. In apropiere se afla si Scoala Generala Chitila, care este la granita celor 2 orase.
- Pentru cei foarte activi, in aropiere avem Clubul Sportiv Argman si Tenis Master Astronomului.
Va invitam sa descoperiti mai multe despre acest teren la un telefon distanta!
Id intern: P5252
Comision cumpărător: 0%
Specificații
Extravilan / IntravilanIntravilan
Front stradal (metri)60
UtilitățiNu
ID: 15477087
Contactează vânzătorul
Companie
Bogdan Stefanescu
pe site din 5 Sepactiv:
Nu există recenzii
Mai multe anunțuri ale utilizatorului
Mogosoaia, Bucuresti-Ilfov
Despre companie
Loading ad...
Contactează vânzătorul
Companie
Bogdan Stefanescu
pe site din 5 Sepactiv:
Nu există recenzii
Loading ad...
Vezi mai multe anunturi ale acestui vânzator
Toate anunturileAnunturi similare



















































































































































































































































